Оглавление
Код и его значение

Применение
Фильтрующий реактор низкого напряжения марки ZHIMING используется при компенсации реактивной мощности конденсаторов, которые подвержены влиянию гармонических волн, перенапряжений при закрытии, рабочих перенапряжений и т. д., что может привести к повреждению конденсаторов или снижению коэффициента мощности, поэтому последовательно соединенные реакторы следует использовать для подключения перед конденсаторами, чтобы ограничивать гармоники, защищать конденсаторы, предотвращать влияние гармонического напряжения, тока или скачков напряжения/тока, улучшать коэффициент мощности, продлевать срок службы конденсаторов.
Особенности структуры
● Продукт подразделяется на два типа: трехфазный, однофазный, сухой железный стержень.
● Железное ядро изготовлено из высококачественной холоднокатаной силиконовой стали, сшитое высокоскоростной штамповкой, без мехов, даже хорошо сваренное, чтобы обеспечить низкий рост температуры низкий уровень шума во время эксплуатации.
● Катушка изготовлена из хороших изоляционных проводников, рана от специальной машины: плоская, гладкая, хорошо выглядит.
● При монтаже все зажимы обеспечиваются антикоррозионной обработкой, критические зажимы изготавливаются из немагнитного материала, затем предварительно нагреваются в духовке, погружаются в вакуум, делают катушку и ядро плотным корпусом, что может снизить рост температуры и шума, улучшить качество завода и устранить гармонические элементы.
● Проект реактора обозначает стандартные панели, небольшие размеры, простоту подключения к кабелям, экономию затрат.
Технические параметры
1. Может использоваться в системах 400V и 660V.
2.Коэффициент реанимации: 1%, 6%, 7%, 12%, 13%, 14% and so on.
3.Номинальный уровень изоляции: 3кв/мин.
4.Ограниченное значение повышения температуры каждой части реактора: железное ядро не может превышать 85 к, а катушка не может превышать 95 к.
5.Шум реактора не должен превышать 50 дБ.
6.Реактор может работать длительное время, если рабочая частота и гармонический ток не превышают 1,35 номинального тока.
7.Степень линейности значения сопротивления: значение соотношения между значением сопротивления в 1,8 раза номинального тока и значением сопротивления в номинальном токе не может быть ниже 0,95.
8.Для трехфазного реактора дисбаланс каждой из двух фазных значений реагентности не может превышать 3%.
9.Диапазон рабочих температур, H градусов, выше 180 градусов по цельсию.
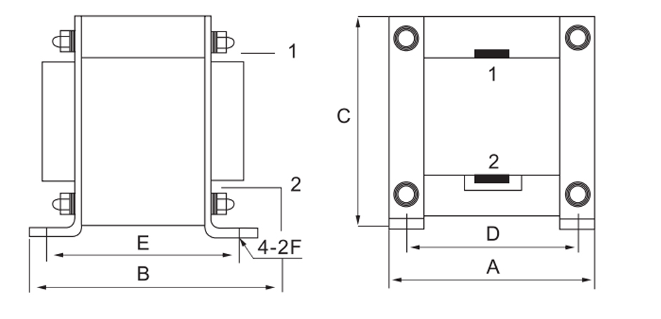
Размер изделия
Однофазный шунтирующий реактор серии CKDG

| Тип | Реатанцерат | Размер LxWxH (mm) | Измерение высоты (mm) | Размер корпуса (диаметр) |
| CKDG-5Kvar | 1%, 4.5%, 5%, 5.67%, 6%, 7%, 12%, 13%, 14% | 114x150x120 | 95×75 | Ø6 |
| CKDG-6.67Kvar | 114x155x120 | 95×75 | Ø6 | |
| CKDG-8Kvar | 135x110x130 | 95×105 | Ø6 | |
| CKDG-10Kvar | 135x120x130 | 100×105 | Ø6 | |
| CKDG-12Kvar | 135x130x130 | 110×100 | Ø6 | |
| CKDG-15Kvar | 150x130x160 | 110×110 | Ø6 | |
| CKDG-20Kvar | 150x140x160 | 110×120 | Ø6 | |
| CKDG-25Kvar | 150x150x160 | 110×130 | Ø6 |
Однофазный шунтный реактор серии CKSG

Алюминий:
| Тип | 7% | 14% | ||
| Размер LxWxH (mm) | Измерение высоты ExD (mm) | Размер LxWxH (mm) | Измерение высоты ExD (mm) | |
| CKSG-5Kvar | 130*95*150 | 65*70 | 230*130*230 | 130*90 |
| CKSG-8Kvar | 160*100*150 | 65*75 | 230*130*230 | 130*90 |
| CKSG-10Kvar | 160*110*150 | 65*85 | 230*130*230 | 130*90 |
| CKSG-12Kvar | 160*110*150 | 65*85 | 230*130*230 | 130*90 |
| CKSG-15Kvar | 195*120*190 | 110*90 | 230*135*230 | 130*95 |
| CKSG-16Kvar | 195*130*190 | 110*95 | 230*135*230 | 130*95 |
| CKSG-20Kvar | 200*120*190 | 110*95 | 240*130*260 | 130*90 |
| CKSG-25Kvar | 230*140*230 | 130*100 | 240*145*260 | 130*105 |
| CKSG-30Kvar | 230*145*230 | 130*105 | 240*145*260 | 130*105 |
| CKSG-35Kvar | 240*140*240 | 130*105 | 240*150*280 | 130*110 |
| CKSG-40Kvar | 240*150*240 | 130*115 | 240*150*280 | 130*110 |
| CKSG-50Kvar | 280*140*280 | 145*110 | 280*140*280 | 145*110 |
| CKSG-60Kvar | 280*150*280 | 145*120 | 280*150*280 | 145*120 |
| CKSG-80Kvar | 280*150*280 | 145*120 | 350*200*300 | 230*140 |
| CKSG-100Kvar | 280*160*280 | 145*130 | 360*220*320 | 230*160 |
Cu:
| Тип | 7% | 14% | ||
| Размер LxWxH (mm) | Измерение высоты ExD (mm) | Размер LxWxH (mm) | Измерение высоты ExD (mm) | |
| CKSG-5Kvar | 130*95*150 | 65*70 | 230*130*230 | 130*90 |
| CKSG-10Kvar | 160*110*150 | 65*85 | 230*130*230 | 130*90 |
| CKSG-15Kvar | 195*100*190 | 110*75 | 230*135*230 | 130*95 |
| CKSG-20Kvar | 200*120*190 | 110*95 | 230*150*240 | 130*110 |
| CKSG-25Kvar | 230*135*230 | 130*90 | 240*145*260 | 130*105 |
| CKSG-30Kvar | 230*140*230 | 130*95 | 240*145*260 | 130*105 |
| CKSG-35Kvar | 230*150*240 | 130*110 | 240*150*280 | 130*110 |
| CKSG-40Kvar | 240*140*240 | 130*105 | 240*150*280 | 130*110 |
| CKSG-50Kvar | 280*140*280 | 145*110 | 280*140*280 | 145*110 |
| CKSG-60Kvar | 280*160*280 | 145*110 | 280*150*280 | 145*120 |
| CKSG-80Kvar | 280*150*280 | 145*120 | 350*200*300 | 230*140 |
| CKSG-100Kvar | 280*160*280 | 145*130 | 360*230*320 | 230*170 |
Примечание: модель CKSG, 400V система, три фазы,12% коэффициент реаляции, напряжение конденсатора 450V.
Инструкция по заказу: выбранный коэффициент полезного действия должен соответствовать гармонической волне энергосети.
1. Коэффициент реанимации, однофазный или трехфазный, номинальное напряжение конденсатора.
2. Мощность реактора (должна соответствовать мощности конденсатора)
3. Может в соответствии с требованиями заказчика сделать другие спецификации.





